辽宁铭朗科技有限公司是东北地区具有影响力的高低压、自动化和信息化系统制造与集成企业,......
电 话:0419-2705179
E-mail:2580108445@qq.com
生产调度
1、远程监测:水厂统计,可实现所有水厂运行状态的综合监控画面。监测列表项:水厂名称、进水量、浊度、余氯、pH、供水量、供水压力、水位、开机台号、浊度、余氯、pH、总能耗、取水泵站泵组效率、取水泵站实时电耗、供水泵站泵组效率、供水泵站实时电耗。

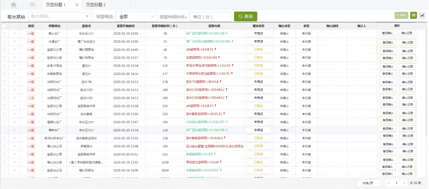
2、智能预警系统:将数据挖掘算法、SCADA数据与有效整合,建立智能事件预警机制,在线感知爆管、漏失、管网等异常情况。
实时报警
历史报警
报警方案设置
报警流程管理
3、调度指令:调度人员在该界面上为各水厂或者泵站下达相关调度指令。
调度指令

指令台账

指令统计
指令模板

4、决策分析:为调度管理人员提供生产运行主要指标,包括供水量、关键压力合格率、生产成本(如有),管网运行压力分析。






