辽宁铭朗科技有限公司是东北地区具有影响力的高低压、自动化和信息化系统制造与集成企业,......
电 话:0419-2705179
E-mail:2580108445@qq.com
回转格栅清污机
回转格栅机是一种用于固液分离的设备,常用于污水处理厂和工业废水预处理等场景。
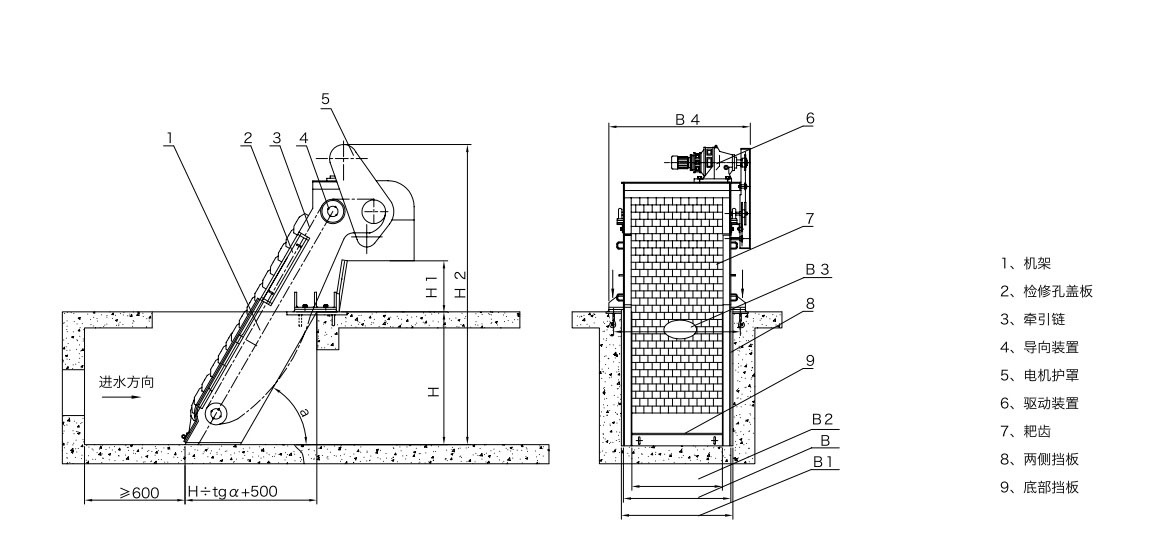
安装示意图:
特点:
- 结构紧凑:占地面积小,适用于各种规模的污水处理厂,尤其是在空间有限的场地中具有明显优势。
- 适应性强:可以根据不同的污水水质和处理要求,选择不同材质、规格的格栅,如不锈钢、碳钢等材质,以及不同的格栅间隙,以适应各种复杂的工况条件。
- 维护方便:设备的主要部件易于拆卸和更换,日常维护简单,且在运行过程中不易出现故障,即使出现问题也能快速进行维修,不会对污水处理流程造成长时间的影响。
优点:
- 自动化程度高:可实现自动连续运行,通过控制系统能根据水位差或设定的时间间隔自动启动和停止,减少了人工操作的工作量和劳动强度,提高了工作效率。
- 分离效果好:具有较高的格栅间隙精度,能有效拦截不同粒径的固体杂质,分离效率高,可使污水中的固体物质含量显著降低,为后续处理提供良好的条件。
- 运行成本低:设备结构相对简单,动力消耗小,且由于自动化程度高,人工维护成本也较低。同时,其使用寿命较长,减少了设备更新和更换的频率,进一步降低了运行成本。
用途:
- 拦截固体杂物:在污水处理流程中,能够拦截并去除污水中较大的固体杂物,如树枝、塑料瓶、包装袋等,防止这些杂物进入后续处理设备,造成设备堵塞、磨损等问题。
- 保护设备:为水泵、曝气器等后续处理设备提供保护,确保它们能正常运行,延长设备使用寿命,同时也有助于提高整个污水处理系统的运行稳定性和可靠性。







